Рассмотрены самоорганизующиеся процессы электроизноса и электроразрушения материалов трибопар Электродонор – Электродонор (ЭД-ЭД), Электроакцептор – Электроакцептор (ЭА - ЭА), Электроакцептор – Электродонор (ЭА - ЭД). Разработан метод электрозащиты материалов трибопар от электроизноса и электроразрушения карданных валов за счёт применения электроизолирующего композитного покрытия из твёрдого полимера, снижающего коэффициент трения. Разработаны физическая и математическая модели на основе равенства работ по перемещению Апер = Авых. выхода электроатома (электрозаряда).
Processes of a natural mode of electro deterioration and electro destruction of materials friction two co-operating materials the Electro donor – Electro donor (ED-ED), the Electro acceptor – the Electro acceptor (EА - EА), the Electro acceptor – the Electro donor (EА - ED) are considered. friction two co-operating materials from electro deterioration and electro destruction the method of electro protection of materials is developed for a sliding friction for the account of application of an electro isolating composite covering from firm polymer. Physical and mathematical models of direct transition of electro substance in a constant electric current are develop.
Ключевые слова: трибоэлектричество, электродонор, электроакцептор, электроизнос, электроразрушение, электровещество, трибоэлектрет.
Spring words: electro donor, electro acceptor, electro deterioration, electro destruction, electro substance, friction electrets, electro friction
Износ (потеря материалов) при эксплуатации узлов трения (трибопар) в механике определяется, как правило, измерениями линейных размеров и веса деталей, этих параметров оказалось недостаточно, чтобы объяснить механизм износа при трении, так как видимый материал исчезает и невидимо, поэтому был необходим поиск «видимых», контролируемых параметров. Ближе всех к решению проблемы трения и износа подошёл А.Д. Дубинин,[1] который провёл огромный комплекс исследований электрических явлений, но увязать электрические параметры с механическими параметрами не сумел и предложил энергетическую теорию трения и износа, основанную на энергетических переходах явлений при трении. Он основательно исследовал, качественные, характеристики: термоэлектронные, акустические, термические, световые явления при трении и попытался выразить количественно механическими методы расчёта (коэффициент и величину силы трения и износ поверхности). Коэффициент трения и сила трения, величины пригодные лишь для решения инженерных задач, так как оба значения лишь математические расчётные величины, не отражающие существа вопроса, потому, что не включают величины контактной поверхности трения и электромагнитных взаимодействий, определяющих механизм и характеристики процессов трения.
В разделе физики электричество – «трибоэлектричество» вообще не рассматривается, явления прямого перехода вещества (электровещества) исключительно в постоянный электрический ток ни кем не признаётся. В школе нас учили, что трение явление «вредное», а при решении задач трением всегда «пренебрегали». Кроме того, артефакт первоисточник трибоэлектричества и электрических электроатомов (электрозарядов) трибогенератор Ван дер Граафа исключён из программы школьного и вузовского образования, а это наносит серьёзный ущерб в науке и образовании при познании электровещества, электричества и процессов, происходящих в объёме электровеществ и на поверхностях между электровеществами при различных видах взаимодействий.
ЭЛЕКТРОИЗНОС материала (электровещества) при трении – это потеря электроатомов Всеродов (электрозарядов, электрополей, стоячих электроволн, электрохимических элементов и т.д.) в процессе трибоэлектризации (трении) трибопар в виде постоянного электрического тока. При этом электроизнос материала становится видимым и контролируемым. Электроизнос – следствие принудительного разрушения предыдущего электромагнитного контактного взаимодействия (трения покоя) трибопар при одновременном совершении работы выхода электроатома (электрозаряда), зависящей от электроструктуры материала и условий, при которых протекает процесс трения, самоорганизации накопления и релаксации избыточного электрического потенциала (электрической объёмной плотности) без электроискровых разрядов.
ЭЛЕКТРОВЕЩЕСТВО это самоорганизованное совокупное и/или дискретное состояние (взаимодействие) электрических объёмных плотностей, единичных и совокупных электроатомов (электрозарядов, электрополей, стоячих электроволн, электрохимических элементов, и т.д.) в форме шаров (сфер) и тел любой формы во всех агрегатных состояниях [2,3,4].
ТРЕНИЕ это фундаментальное явление, где происходят все виды контактов, перемещений и взаимодействий в объёме и по поверхности тел электровеществ, при которых самоорганизованно осуществляется обмен электроатомов.
ТРЕНИЕ СКОЛЬЖЕНИЕ это совокупность процессов, происходящих при принудительном перемещении, совершении работы по перемещению Апер. по поверхностям трибоконтактирующих тел (электровеществ), относительно друг друга: разрушение, ранее существовавшего электромагнитного взаимодействия (состояния), при одновременном совершении работы выхода электроатомов Авых. разрушении равноколичественного зарядообмена при трении покоя трибопары, самоорганизация трибосистемы с образованием недостатка электроатомов всерод (электрозарядов) на электродоноре (ЭД) (статический заряд) и накопление, ушедших электроатомов из электродонора, в виде избытка электроатомов всерод (электрозарядов и т.д.) на электроакцепторе (ЭА) (динамический заряд), характеризуемого образованием разницы электрической объёмной плотности (электропотенциала) на поверхностях; нейтрализация электропотенциала в электроискровых разрядах в точках контакта; электроизнос и электроразрушение электровещества трибопар[5,6,7,8,9]. Трение скольжения имеет три режима:
- безызносный режим трения - исключает электроизнос за счёт трибоэлектретного состояния диэлектрического твёрдого электроизолирующего композитного покрытия на поверхности, сохраняющего электроатомы в трибосистеме;
- режим с электроизносом без электроразрушения материала (электровещества) при самоорганизации разно количественного электроатомного обмена, релаксации накопления избытка электроатомов (электропотенциала), обеспечивая нейтрализацию электроискровых разрядов;
- режим с электроизносом, с последующим электроразрушением материала (электровещества), когда трибосистема самоорганизованно сохраняет разно количественный зарядообмен, т.е. количество электроатомов в электровеществе рассматриваемого объёма не остаётся постоянным, идёт накопления избытка электроатомов (электропотенциала) и нейтрализация его в электроискровых разрядах.
ЭЛЕКТРИЧЕСТВО это взаимодействие электроатомов (электрополевых, электрозарядовых, и т.д.) плотностей, в форме шаров (сфер), жидких и твёрдых тел любой формы, как единичных электроатомов, так и совокупных электроатомов (электрозарядов, электрополей, стоячих электроволн, электрохимических элементов, и т.д.) с самоорганизацией в зависимости от условий эксперимента, собственного конкретного электромагнитного поля, обладающего конкретной электрической объёмной плотностью и свойствами проявляющимися в виде: постоянного атомарного электрического тока, электроискровых разрядов, электродуговых разрядов, электроплазм, электрошумов, электросвета, электромагнитов, электротепла, электрогазов, электрожидкостей, твёрдых электротел, электро радиоизлучений всех диапазонов с разуплотнением и переходом из скомпенсированного электронейтрального состояния электровещества (материала), в разуплотнённое электронейтральное и/или разкомпенсированное заряженное состояние совокупных электроатомов, и наоборот[4].
ЭЛЕКТРИЧЕСТВО это взаимодействие электрических плотностей (электроатомов, электрозарядов, электрополей, стоячих электроволн, электрохимческих элементов и т.д.) в форме шаров (сфер) в виде газообразных, жидких и твёрдых тел любой формы в собственном самоорганизованном электромагнитном поле [4].
ЗАРЯД ЕДИНИЧНЫЙ это электронейтральный электроатом ВСЕРОД (электрополе, электровещество, электроволна, электрохимический элемент и т.д.), имеющий равномерно распределённую полеобразную электрическую объёмную плотность, минимальную в любых, но конкретных условиях в форме шара (сферы). [3]
ЗАРЯД НЕСКОМПЕНСИРОВАННЫЙ (избыточный и/или недостаточный) это избыток и/или недостаток электроатомов Всерода в объёме и/или на поверхности заряженного тела (электровещества), характеризуемый объёмной и/или поверхностной разностью объёмных плотностей электроатомов (электрозарядов, электропотенциалов) [4]
ЗАРЯД СКОМПЕНСИРОВАННЫЙ это электроструктура электровещества замкнута в количественном и качественном взаимодействии электроатомов, электронейтральное состояние, отсутствие разности электрической объёмной плотности электроатомов (электрозарядов, электропотенциалов) электровещества[4].
ЗАРЯД СТАТИЧЕСКИЙ это недостаток электроатомов Всерод в объёме и/или поверхностности электровещества (электродонора) и/или избыток электроатома Всерод в объеме и/или поверхности тела электровещества (электроакцептора), характеризуемый объёмной и/или поверхностной разностью электрической объёмной плотности электроатомов (электрозарядов, электропотенциалов).[7]
ЗАРЯД ДИНАМИЧЕСКИЙ это избыток электроатомов Всерод на поверхности электровещества (электроакцептора), характеризуемый поверхностной разницей электрической объёмной плотности зарядов (потенциалов) на поверхности тела электроакцептора, который при отводе на (землю) и/или потребителю образует постоянный электрический ток.[7]
ЭЛЕКТРОАТОМ ЕДИНИЧНЫЙ это далее не делимая единственная элементарная частица, электроатом (электрохимический элемент и т.д.) ВСЕРОД
(РУС 1), обладающий минимальной электрической объёмной полевой плотностью, равномерно распределённой в форме шара (сферы) в конкретных условиях не зависимо от размера, первый электроатом (электрохимический элемент и т.д.), расположенный в нолевом ряду нолевого периода Периодической системы 1906г. Д.И. Менделеева под символом «Х» [10], математически описываемый в двоичной системе счета ПС 1997г. [2,3,4].
ЭЛЕКТРОАТОМ СОВОКУПНЫЙ это локальное совокупное центрально- симметричное взаимодействие объёмно структурированных разноразмерных электроатомов Всеродов – (электрозарядов, электрополей, стоячих электроволн, электрохимческих элементов и т.д.), обладающих приобретённым свойством локального устойчивого взаимодействия электровещества с максимальной электрической плотностью и нолевым потенциалом в центре, описываемый в двоичной системе счёта ПС 1997г.[4].
ЭНЕРГИЯ это способность электромагнитного поля (электровещества) Вселенной реагировать, релаксировать, перераспределять результаты всех взаимодействий до равновесного состояния (нолевого электропотенциала) [4].
ЭЛЕКТРОВОЛНА это оптимальная форма - шар (сфера) сохранения и распространения электроатомов, (электрозарядов, электрополей, стоячих электроволн, электрохимческих элементов и т.д.) [4].
Всем известен факт трибоэлектризации (трибоэлектричество), возникающий при перемещении относительно друг друга диэлектрических материалов различного химического состава или различной химической природы. Установлено, что трибоэлектризуются все материалы, включая однородные трибопары, но сохраняют заряд только диэлектрики и полупроводники, а проводники быстро релаксируют заряды, поэтому его трудно измерить. Однако процесс трибоэлектризации хорошо просматривается по токовым (амперным) и электрозарядовым (трибоэлектретным) характеристикам, легко контролируется и поддаётся расшифровке по электретной методике[6].
Используя экспериментальные результаты исследований, можно определять оптимальные параметры системы трибозарядки на установках напыления в производстве диэлектрических, антифрикционных, противокоррозионных, защитно-декоративных, светотехнических и других видов покрытий в электронике и тонких плёнок с заданной толщиной, электропроводностью равномерностью, высокой адгезией, определяемых величинами «массы» (количеством) m и значением поверхностного заряда q. Любая трибосистема в неподвижном состоянии практически равновесна, т.е. материал (электровещество) трибопары сохраняет своё состояние без значительных изменений продолжительное время, зарядообмен и/или переходы зарядов происходят в динамическом равновесии, поэтому процессы деструкции протекают весьма медленно. При механическом перемещении (скольжении, качении) двух и более тел в поверхностном слое процесс выхода зарядов протекает интенсивно, так как постоянно разрушается точечное электрическое контактное взаимодействие и равновесие, исключающее равновесный зарядообмен между электровеществами. Заряды из объёма материала Электродонор ЭД, с меньшей работой выхода переходят на поверхность материала электроакцептора ЭА, с большей работой выхода, при этом материал ЭД разуплотняется и на поверхностях самоорганизуется разница объёмных электрических плотностей (электропотенциалов). При накоплении трибосистемой критической (пробойной) разности потенциалов происходит электроискровой саморазряд, приводящий к электроизносу и электроразрушению электропроводящего материала. При механических перемещениях одновременно производится, как работа Апер так и работа Авых выхода электроатома, генерация постоянного (атомарного) тока, накопление и нейтрализация разности электропотенциалов в электроискровых пробоях, приводящих к различным видам электроизноса и электроразрушению материалов (электровещества)[7].
В общем виде в узлах трения при эксплуатации происходит множество процессов: трибоэлектризация, генерация постоянного (атомарного) электротока (переход в разуплотнённое дискретное состояние) электровещества электронагрев, электронамагничивание, электрополяризация, электрохимические преобразования, электроискровая обработка, электро радио излучения всех диапазонов, электрошумы.
Исследования показали, что в процессе трения по проводнику происходят явления характерные направленному движению зарядов - электрическому постоянному току. Процесс трения (трибоэлектризация) с зарядовых позиций показывает, что механизм накопления электрозарядов (электропотенциалов) для всех материалов одинаков, тогда как процесс нейтрализации зарядов в трибосистеме зависит от того, какие электровещества (материалы) взаимодействуют и в каких условиях. Исследования поставили под сомнение наличие электронов в природе, так как согласно современной теории электричества в диэлектриках отсутствует электронная проводимость, а снимаемые с диэлектрика электроатомы (электрозаряды, электрополя, электрохимические элементы и т.д.) в виде постоянного электрического тока, великолепно переходят на токосъёмник из проводника и отводятся на «землю» или потребителю. Известно, что в постоянном электрическом токе отрицательная составляющая отсутствует, протоны не перемещаются.
Исследование процессов трибоэлектризации порошков различных трибопар из диэлектрических электровеществ.
В экспериментах исследовали различные условия трения для различных электровеществ в сочетаниях: ЭД-ЭА, ЭД-ЭД, ЭА-ЭА
Установка (физическая модель) контактного трения позволяет проводить процессы «сухого» трения без каких- либо побочных явлений. При экспериментах в качестве одного триботела применяли тормозящий трибоэлемент с рёбрами, выполненными в виде многозаходной винтовой линии из различных материалов, а в качестве другого триботела – мелкодисперсные 50х10-6м. частицы порошка. Процесс трибоэлектризации проводился при следующих условиях: температура 2780К, скорость перемещения 10, 30, 45, 60 м/с, расход (количество) 6х10-3 кг с-1.
Результаты экспериментов электромеханического взаимодействия точечных контактов при трении скольжения: перемещение и одновременное совершение работы выхода, разуплотнение электровещества – прямой переход в постоянный (атомарный) электрический ток при торможение порошковых микро нано размерных частиц о трибоэлементы, хорошо согласуются с выведенной математической формулой (моделью).Iзар. = σчρчG Кл/с [7].
Рассмотрим процесс «сухого» трения с трибоэлектрических позиций по токовым характеристикам: току электризации Iэл. и ток утечек Iу. считая его следствием перехода электрозарядов из объёма поверхностного слоя ЭД на поверхность ЭА. Стабильность перехода электроатомов (электрозарядов, электрополей) обеспечивалась их отводом на «землю» через токосъёмник (коллектор) из проводника. Изменение свойств диэлектрических материалов в результате трибоэлектризации исследовались по электретной методике - электретной разности потенциалов Uк трибоэлектретов.[6,7,8,9]
Приведённые зависимости тока электризации от «химической» природы трибоконтактных пар на Рис 1 видно, что трибопары, где ЭД - полимерная частица на эпоксидной основе (П-ЭП-219) и/или на другой основе, а ЭА - полимерный трибоэлемент из политетрафторэтилена (ПТФЭ) (например, пара П-ЭП - ПТФЭ) генерируют наибольший ток электризации (графики 1–5). Трибопары полиметилметакрилат (ПММА-ПА) полиамид (график 8) и ПММА-ПТФЭ (график 7) генерируют сравнительно низкий ток электризации. При трении проводников характер графиков токов электризации подобен графикам диэлектриков. Например, для пары бронза – железная пудра ток Iэл. = 10-6 А, (график 12), для пары бронза – бронзовая пудра ток электризации Iэл. = 10-8 А, Iэл. ≈ 0 (график 9), который является обобщенным для однородных материалов трибопар ЭД - ЭД, ЭА – ЭА. Для трибопар ЭД (бронзовая пудра) – ЭА (ПТФЭ) график 10 и ЭД (железная пудра) и ЭА (ПТФЭ) график 11 имеют те же закономерности трибоэлектризации, что и для пар полимер – полимер, только заряд на порошковых частицах проводниковых материалов быстро нейтрализуется. При изолированном процессе трибоэлектризации диэлектрических пар ЭД-ЭА, когда исключается отвод генерированных электрозарядов (электроатомов) в виде постоянного (атомарного) тока на «землю» процесс трибоэлектризации прекращается (самозатухание), так как ЭА накапливает на поверхности свободные несвязанные поверхностные электроатомы (электрозаряды), наблюдается эффект насыщения и электризация порошковых частиц прекращается. Рис.1

Рис.1
Зависимость тока трибоэлектризации от природы материалов

Рис.2
Модель трибоэлектризованной диэлектрической частицы ЭД и механизм перехода электроатомов на ЭА
Разница величин токовых характеристик различных трибоконтактных пар при одних и тех же условиях обусловлена разницей работ выхода электрозаряда (электроатома, электрополя) из электровещества.
При этом разность электропотенциалов незначительна и свободные поверхностные электрозаряды равновесно перемещаются с одной поверхности на другую. Аналогично протекает процесс и при трибоэлектризации диэлектрических пар (ЭА-ЭА) и (ЭД-ЭД). Если в отдельных точках контакта создаётся избыточный и/или недостаточный потенциалы, то при перемещении тел заряженные точки совмещаются и нейтрализуют локальную разность электропотенциалов в единичных электроискровых разрядах за счёт свободных поверхностных электрозарядов, поэтому процесс генерации электрозарядов (электроатомов, электрополей) не эффективен и уровень трибозарядки частиц низкий. Исследования зависимости тока электризации от скорости потока порошково-воздушной смеси (ПВС) показали, что процесс полной трибозарядки частицы (до пробойного потенциала) протекает на коротком участке длиной (50-200мм) и даже однородные трибопары ПТФЭ – ПТФЭ трибоэлектризуются достаточно эффективно при отводе электроатомов (электрозарядов, электрополей) на «землю» с рабочих поверхностей.
При трибоэлектризации разнородных материалов пар ЭД-ЭА в специально подобранном режиме эффективность трибогенерации постоянного (атомарного) тока достигала величины 200мА.
Исследования термоактивационными методами электрофизических свойств осажденного слоя из трибоэлектризованных частиц показывают изменение структуры материала (порошковой диэлектрической частицы) На Рис. 2 показана модель трибоэлектризованной диэлектрической частицы и механизм перехода электроатомов c ЭД на ЭА.
Термоаналитические исследования образцов проводили на дериватографе Ф. Паулик, Дж. Паулик, Л. Эрдей. Контрольные образцы порошка П-ЭП-219 и трибоэлектризованные образцы нагревали со скоростью 50С/мин. Появление следов деструкции материала на контрольном образце порошкового полимера сопровождался потерей количества материала (электровещества) и начинается при 5430К, а на трибоэлектризованном 5130К. Снижение температуры (Т) начала разложения порошка с потерей количества электровещества связано с потерей электрозарядов (электроатомов, электрополей), подтверждая материальность (электровещественность) электроатомов (электрозарядов, электрополей). Поскольку в эксперименте при трибоэлектризации порошковых диэлектрических частиц ничего, кроме генерированного постоянного (атомарного) тока не изымалось из системы трения, а при нагреве трибоэлектретного слоя установлено, что потеряна масса (количество) электровещества, то можно утверждать, что заряды (электроатомы, электрополя) являются первичным электровеществом. Наличие потенциала, характеризует недостаток электроатомов в объёме ЭД и избыток электроатомов на поверхности ЭА, а так же трибоэлектретное состояние каждой отдельной частицы и всего порошкового слоя с созданием электрического поля трибоэлектрета [6].
Экспериментально подтверждается, что при трибоэлектризации порошковых частиц материал ЭД в процессе торможения о трибоэлементы материал ЭА, твёрдая часть частицы ЭД совокупного электронейтрального состояния (взаимодействия) приобретает трибоэлектретное заряженное разуплотнёное состояние (взаимодействие) за счёт недостатка дискретных электронейтральных электроатомов (электрических объёмных плотностей, электрозарядов, электрополей, электроволн, электрохимических элементов) ушедших на поверхность ЭА откуда они через проводник в виде постоянного (атомарного) тока электроатомов (электрозарядов, электрополей, электроволн, электрохимических элементов) отводятся на «землю», иначе говоря, подтверждается процесс самоорганизации электроизноса и/или электроразрушение (электровещества) при отводе электрозарядов на «землю» и/или в виде электроискровых разрядов.
По разработанной, на трибоконтактных парах порошковая частица – трибоэлемент, методике исследовали механизм электроизноса и электроразрушения контактных плоскостей на трибопарах проводник-проводник при различных условиях трения. Как было установлено ранее, механизм образования и перехода зарядов при трибоэлектризации трением одинаков для любых трибопар и имеет только количественное отличие в зависимости от величины работы выхода электрозаряда каждого материала трибопары и условий трибоэлектризации, тогда как механизм нейтрализации разницы потенциалов трибопар проводник – проводник значительно отличается от трибопар диэлектрик – диэлектрик.
Ток трибоэлектризации Ip (расчётный) показывает количество электрических зарядов (электроатомов, электрополей, электроволн) генерируемых на поверхности верхнего образца в процессе перемещения при нагрузке N .т. е., при совершении работы перемещения Апер. при одновременном совершении работы выхода Авых. Очевидно, что эти работы абсолютно равны Апер = Авых. Равенство работ позволяет рассматривать процесс трения как равнозначное электромеханическое взаимодействие, при котором происходит самоорганизованные электроизнос и электроразрушение материалов. Электроизнос и электроразрушение трибопар из проводников происходит в двух видах: 1. Электроизнос - разуплотнение совокупного электронейтрального электровещества с частичной потерей электроатомов, но без потерь функциональных возможностей электровещества деталей, переход в заряженное состояние ЭД (статическое электричество). При этом дискретные электроатомы (электрозаряды, электрополя, электроволны, электрохимические элементы) отводятся, как избыточные поверхностные заряды с ЭА (динамическое электричество) на «землю» в виде дискретных электроатомов постоянного (атомарного) тока и циклическим повторением процесса электроизноса; 2.Электроразрушение последующая стадия после электроизноса приводящая к потере функциональных свойств электровещества деталей, последовательное разуплотнение электронейтрального электровещества и переход в заряженное состояние с самоорганизацией большой разности электропотенциалов (электрической объёмной плотности) между триботелами и её нейтрализации в электроискровых разрядах со скоростью 10-8-10-9с.
Выведена математическая формула тока зарядки
, Кл/с [7] при трении проводников, согласующаяся с экспериментальными результатами.
Исследования трибоэлектрических явлений при трении различных трибопар в разных условиях при наличии полимерного композитного диэлектрического покрытия на одной из поверхностей показаны на Рис3.
кк
Рис.3
Графики электроизноса и токов утечки при наличии покрытия из твёрдого композитного полимерного диэлектрика на одной из поверхностей трибопары в различных условиях трения; электрознос - кривые с белыми кружками; токи утечки - кривые с чёрными кружками
Наибольший электроизнос и токи утечки дают трибопары незакалённых металлов при наличии сухого графита на полимерном слое из твёрдого диэлектрика (рис.3) (графики 9,10); средние значения электроизноса и токов утечки дают трибопары с диэлектрическим абразивом (кварцевый песок) на полимерном слое твёрдого диэлектрика (графики 5, 6, 7, 8); минимальный электроизнос и токи утечки дают трибопары с твёрдым диэлектриком со смазкой (графики3,11,12) при максимальных стандартных нагрузках соизмеримых с пределом текучести металлов. Экспериментальные данные хорошо согласуются с выведенной математической формулой (моделью), которая подчёркивает, что контактная поверхность трения является важнейшей величиной при трении.
Наличие твёрдого диэлектрического слоя в трибопарах на одной из поверхностей трибопары, является основным фактором безызносности трибосистем. Диэлектрический твёрдый полимерный слой толщиной 200 – 250мкм исключает электроискровые пробои, сохраняет суммарное количество электроатомов (электрозарядов, электрополей, электроволн, электрохимических элементов и т.д.) в трибосистеме, обеспечивая самоорганизацию режима безызносного трения при критическом токе I <10-9А трибоэлектризации за счет трибоэлектретного состояния диэлектрического композитного полимерного покрытия [7,8,9,10.]
Характер накопления свободных поверхностных электроатомов (электрозарядов, электрополей, электроволн, электрохимческих элементов и т.д.), самоорганизация разности потенциалов и её нейтрализации в электроискровых разрядах в трибопарах проводник - проводник показаны на Рис.4.1, 4.2, 4.3, графики получены на самописце в текущем режиме времени.

Рис.4.1
Характер токов электроразряда трибопары сталь закаленная по чугуну серому материал с малой работой выхода. Электродонор, второй материал с большой работой выхода - Электроакцептор

Рис.4.2
Характер токов электроразряда трибопары. Сталь закаленная по стали сырой один материал с малой работой выхода заряда сталь сырая, второй материал с большой работой выхода заряда сталь закаленная.
Эксперименты по трибоэлектричеству показывают, что электроатом (электрозаряд, электрополе, электро химический элемент, электроволна элементарная электрочастица и т.д.) есть электронейтральный перво электроатом Всерод, который являются сущностью и содержанием всех материалов (электровеществ) и отличается только названиями в терминологии по научным направлениям, дисциплинам и методиками расчёта.

Рис.4.3.
Характер токов электроразряда трибопары сталь закаленная по стали закаленной (материалы с большой работой выхода)

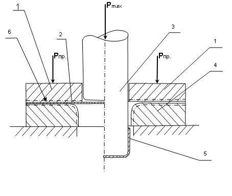
Рис.5
Экспериментальная установка (пресс форма) для вытяжки стаканов
1-прижим, 2-заготовка, 3- пуансон, 4- матрица, 5- изделие, 6-полимерное композитное покрытие.
Исследования трибоэлектрических взаимодействий электровеществ при холодной обработке металлов давлением.
Наиболее ярко и точно наукоёмкая технология обработка металлов давлением показывает зависимость трения, электроизноса и электроразрушение металлов от нагрузок и их уменьшение при «сухом» трении с диэлектрическим покрытием и трении со смазками в процессе глубокой вытяжки металлов при штамповке. При контакте пуансона с заготовкой происходит создание электромагнитного взаимодействия (трение покоя), а при перемещении пуансона (трение скольжения) в процессе вытяжки происходит разрушение контактного электромагнитного взаимодействия, совершение «работы выхода заряда» и накопление электрического потенциала на взаимодействующих поверхностях пуансон – заготовка и заготовка – матрица. Наименьшая «работа выхода заряда» у заготовки «сырая сталь», поэтому из заготовки заряды уходят на поверхности матрицы и пуансона и отводятся на «землю» естественным путём. Таким образом происходит электроизнос и электроразрушение заготовки, ослабление электроструктуры и электроразрушение материала (электровещества), а при последующих нагрузках в ходе технологических действий происходит разрыв. Поскольку часть электрических зарядов остаётся на поверхности оснастки, то в процессе вытяжки происходит их релаксация в электроискровых разрядах, приводящая к электроизносу хромового покрытия и оснастки.
С целью определения влияния композитного диэлектрического полимерного покрытия и смазки на силовые параметры процесса вытяжки металлов при высоких контактных давлениях (соизмеримых с пределом текучести металлов) на трибоконтактирующие поверхности заготовки и инструмента были проведены эксперименты в жёстких инструментальных штампах. Установка процесса вытяжки представлена на Рис.5. Испытания проводились на универсальной гидравлической машине ГУРМ-200, усилием 20т. При этом фиксировались силовые параметры в различных условиях трибоэлектрического контактного трения, характеризующих сопротивление перемещению (электромагнитному взаимодействию) трибопар. На поверхность инструмента нанесена диэлектрическая полимерная композитная плёнка толщиной 250 мкм по порошковой технологии с использованием трибоэлектрического эффекта для трибозарядки порошков. Вытягивание стаканчиков ф45мм, из заготовки толщиной 1,0мм из материала АМЦ и коррозионно-стойкой стали 12Х18Н10Т при скорости деформирования 12х10-4м/с. Основные результаты экспериментов приведены на Рис. 6 для коррозионно - стойкой стали 12Х18Н10Т; Рис.7 для АМЦ.

Рис.6
Графики вытяжки стаканов сталь Х18Н10Т.
Описание графиков в тексте.
Рис.6 материал сталь 12Х18Н10Т. График 1. Трибоконтактирующие поверхности проводник – проводник - проводник при отсутствии смазочной среды на воздухе произошёл разрыв при усилии 4050кг.
График 2. Трибоконтактирующие поверхности проводник – проводник – проводник при наличии смазочной среды с динамической вязкостью 5х10-5 Пуаз произошло формование изделия при усилии 3415кг без разрыва.
График 3. Трибоконтактирующие поверхности диэлектрик – проводник – диэлектрик при отсутствии смазочной среды произошло формование изделия при усилии 3385кг без разрыва.
График 4. Трибоконтактирующие поверхности диэлектрик – проводник – диэлектрик при наличии смазочной среды с динамической вязкостью 5х10-5 Пуаз произошло формование изделия при усилии 3290кг без разрыва.
График 5. Трибоконтактирующие поверхности диэлектрик – проводник – диэлектрик при наличии смазочной среды с динамической вязкостью 0,2 Пуаз произошло формование изделия при усилии 3170кг без разрыва.

Рис.7
Графики вытяжки стаканов из АМЦ
Описание графиков в тексте.
Рис.7 материал АМЦ График 1. Трибоконтактирующие поверхности проводник – проводник - проводник при отсутствии смазочной среды на воздухе произошёл разрыв при усилии 2200кг.
График 2. Трибоконтактирующие поверхности проводник – проводник – проводник при наличии смазочной среды с динамической вязкостью 5х10-5 Пуаз произошло формование изделия при усилии 2155кг без разрыва.
График 3. Трибоконтактирующие поверхности диэлектрик – проводник – диэлектрик при отсутствии смазочной среды произошло формование изделия при усилии 2055кг без разрыва.
График 4. Трибоконтактирующие поверхности диэлектрик – проводник – диэлектрик при наличии смазочной среды с динамической вязкостью 5х10-5 Пуаз произошло формование изделия при усилии 2015кг без разрыва.
График 5. Трибоконтактирующие поверхности диэлектрик – проводник – диэлектрик при наличии смазочной среды с динамической вязкостью 0,2 Пуаз произошло формование изделия при усилии 1970кг без разрыва.
Типовые диаграммы вытяжки цилиндрических стаканов показывают, роль и уровень влияния диэлектрического покрытия и смазки поверхностей трения при предельно допустимых нагрузках в циклических процессах при переходе трения покоя (статическое электромагнитное взаимодействие) в трение скольжения (динамическое электромагнитное взаимодействие) при вытяжке стаканов.
Анализируя полученные результаты экспериментов, можно утверждать, что полимерное композитное диэлектрическое покрытие на штамповом инструменте обеспечивает достаточно низкие значения электроконтактного взаимодействия инструмента с заготовкой в процессе вытяжки без применения смазочных сред, характеризуемые величиной давления при формовании стакана, при этом полимерное покрытие выдерживает нагрузки соизмеримые с пределом текучести металлов.
После 50-ти циклов при стабильно повторяющемся усилии вытяжки стаканов без применения жидких и пластически вязких смазочных сред, была проведена визуальная проверка состояния композитной диэлектрической полимерной плёнки – следов разрушения полимерного диэлектрического покрытия не обнаружено. Эксперименты показывают, что электроизнос штамповой оснастки можно снизить за счёт электрозащиты диэлектрическими полимерными покрытиями, которое восстанавливается и может восстанавливать инструмент.
Литература
- 1 Дубинин А.Д. //Энергетика трения и износа деталей машин. МАШГИЗ М. К. 1963. 55 с.
- 2. Рыбников Ю.С. //Основы теории единства и неразрывности электромагнитного поля Вселенной. Материалы ММК Анализ систем на пороге ХХI века: теория и практика. Интеллект. М.- 1996. т.3. с. 28-46.
- 3 Рыбников Ю.С.//Русская православная элементарная система единства периодичности электроатомов Вселенной. Интеллект. М. 1996. т.3. Приложение (вкладыш).
- 4. Рыбников Ю.С.//Основы теории единства и неразрывности электромагнитного поля Вселенной. ЖРФМ. Общественная польза. М.- 1993.с. 157-165.
- 6. Рыбников Ю.С. Липаев С.М. Крашенинников А.И. и др.//Кинетика накопления и рассасывания зарядов в органических и кремнийорганических материалах. Электроника органических материалов. Под ред. А.А. Овчинникова. Наука- 1985. М. с. 111-115.
- 7. Рыбников Ю.С. Круглова Л.В.//Основы электронной теории износа при трении. Вестник машиностроения. Машиностроение.1989 М. с. 5-10.
- 7. Рыбников Ю.С. Круглова Л.В.//Исследование процессов разрушения узлов трения в динамике с позиций трибоэлектричества. Тезисы докладов 3-го Всесоюзного НТ Совещания Динамика и прочность автомобиля. Уч. Изд. Л.- 1988.
- 8. Ю.С.Рыбников Липаев С.М. Крашенинников А.И. и др. //Трибоэлектретный эффект при трибоэлектризации порошковых лакокрасочных материалов ЛКМ и их применение Химия, М. 1986. №3. с. 38-40.
- 9. Рыбников Ю.С. Драновский М.Г //Композиционные покрытия на основе трибоактивированных порошковых полимеров – повышение износостойкости и ресурса узлов трения в машиностроении. Тезисы докладов1-го Всесоюзного НТ Семинара, Ворошиловград. 19-21 мая, 1987. с 58-60.
- 10. Менделеев Д.И.//Попытка химического понимания мирового эфира. Основы химии, Наука, Л.- 1934. с 465-500.
Московский-государственный институт Радиотехники Электроники и Автоматики (МГТУМИРЭА), Москва, Россия.
Рыбников Ю.С. КТН
электрофизическая основа взаимодействия тел при трении
И
электромеханическая природа самоорганизующегося режима электроизноса и электроразрушения материалов трибопар при трении скольжения.
УДК 621
ELECTROPHYSITION BASE INTERACTION BODYS OF FRICTION AND ELECTRO MECANICAL NATURE ORGANIZATION ELECTRO DESTRUCTION AND ELECTRO WEAR AUT MATERIALS OF FRICTION SLIDCAL.Y.S
The Moscow state institute of a radio engineering, electronics and automatics, Moscow, Russia.